[MT리포트]폼팩터 새로운 대안 롤러블폰 (下)

화면이 돌돌 말리는 '롤러블' 디스플레이 경쟁이 TV와 스마트폰 전방위적으로 펼쳐지고 있다.
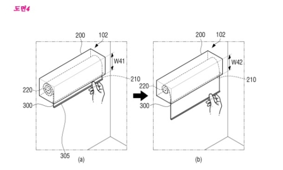
15일 업계에 따르면 삼성전자는 최근 LG전자가 주도하는 롤러블TV와 관련된 특허를 취득했다. 삼성전자가 출원한 '플렉서블 디스플레이 장치를 구비한 전자장치’는 구부리거나 접을 수 있는 디스플레이를 탑재한 전자장치와 관련된 것이다. 삼성전자는 2015년 7월 국내에 해당 특허를 출원했는데, 5년여만에 등록을 마치고 최종 특허권을 확보하게 된 것이다.
특허에 따르면 디스플레이를 돌리는 방향과 형식이 △좌우 △위에서 아래(롤다운) △아래에서 위(롤업) 등으로 다양한 것이 특징이다.
공개된 예상 그림을 보면 본체 역할을 하는 박스 하단에서 디스플레이를 오른쪽으로 끌어당기는 형태로도 구현될 수 있다. 또 2개의 본체 안에 플렉서블 디스플레이가 들어있는 형태로, 이를 좌우로 끌어당겨 마치 두루마리처럼 화면이 펼쳐지는 모습도 가능하다.

삼성전자가 관련 특허를 취득한 만큼 실제 제품 개발에 착수한다면 LG전자와 기술 경쟁이 더욱 치열해질 전망이다. 다만 삼성전자가 실제로 롤러블 TV를 출시할 것인지, 언제쯤 내놓을 것인지에 대해서는 알려진 바 없다.
2019년 세계 최초로 롤러블 TV를 공개했던 LG전자는 아직까지 제품을 출시하지 않고 있다. 공개 당시 최고 혁신 제품으로 꼽히며 찬사를 받았지만 상용화는 아직인 상황이다.
당초 LG전자는 제품 공개 당시 연내(2019년) 출시 방침을 밝혔지만 이 계획은 올해 3분기로 연기된 상태다. 하지만 3분기도 얼마 남지 않은 상황에서 계획대로 제품을 출시하긴 쉽지 않을 것으로 보인다.
다만 당시에는 코로나19 변수는 고려하지 않은 상태였다. TV 특수인 도쿄올림픽이 연기되고, 수요가 줄어드는 상황을 예상하지 못한 것이다. 롤러블 TV 가격은 기존 LG TV 중 최고가인 '8K OLED 88형' TV의 출하가(5000만원)보다 훨씬 비싼 1억원대 수준으로 전망되고 있다.

업계에선 롤러블TV보다 화면이 작은 롤러블폰이 기술적으로 구현하기 더 어려운 것으로 전해졌다. 좁은 공간 구조에서 반도체와 부품의 유연성 등의 확보가 쉽지 않아서다. 하지만 접고 펴는 '폴더블폰'보다 돌돌 마는 형태의 '롤러블폰'의 활용도가 훨씬 크다.
보다 가볍고 얇게 만들 수 있는데다 스크린 크기도 자유자재로 쓸 수 있어서다. 때문에 현재 삼성이 주도하는 폴더블폰의 가장 강력한 폼 팩터 대항마가 될 것이라는 전망이 많다. 롤러블폰 개발 분야에선 LG전자가 가장 앞서 있는 가운데, 삼성전자와 애플 등 경쟁사들도 선행 연구에 뛰어들었다.
독자들의 PICK!
LG전자는 14일 'LG윙'을 온라인 공개하면서 영상 말미에 롤러블폰 공개도 임박했음을 시사했다.
박효주 기자

LG전자가 돌돌 말아 휴대하는 스마트폰, 이른바 ‘롤러블폰’ 출시를 전격 예고한 가운데, 과학기술 분야 정부출연연구기관도 관련 핵심기술 개발 및 상용화에 박차를 가하고 있다.
15일 울산과학기술원(UNIST) 에너지화학공학과 이동욱 교수, 전기·전자공학과 김학선 교수 연구팀은 롤러블폰 제작에 필수적인 ‘아크릴계 감압성 점착제’를 개발했다고 밝혔다.
휴대폰 디스플레이 소자는 유리창, 금속전극, 발광물질 등이 차곡차곡 쌓여 있는 샌드위치 구조로 이뤄져 있다. 이 구성품 사이를 양면테이프와 같은 점착제를 이용해 연결하고 고정한다. 김학선 교수는 “롤러블폰처럼 화면은 크게 보면서도 갖고 다닐 때는 작게 만들어야 한다면 결국 화면을 접거나 말거나 구길 때 외부 변형을 견뎌낼 수 있는 점착제 개발이 필수”라고 말했다.
연구팀이 개발한 점착제는 포스트잇·스카치테이프처럼 살짝 눌러주는 힘만으로도 접착력을 갖는다. 또 표면에서 잘 벗겨지지 않는 성질 즉 박리 강도가 높으면서 우수한 신축성을 지녔다. 연구진이 박리 강도를 실험한 결과 스카치테이프보다 약 65% 높았고, 원래 길이 보다 25%가량 늘려도 즉각적으로 원상태로 돌아왔다. 이 교수는 “접착력을 추가로 보완하면 롤러블폰 디스플레이 소자에 사용 가능한 점착제를 대량 생산할 수 있을 것”이라고 말했다.

롤러블폰과 같이 유연한 스마트기기 개발에 있어 핵심은 정보처리·저장 반도체 소자인 트랜지스터와 배터리 등 기기 내 탑재하는 부품이 전부 유연해야 한다는 점이다. 특히 트랜지스터를 어떻게 설계할 것인가가 관건이다. 트랜지스터 성능에 따라 디스플레이 반응 속도, CPU(중앙처리장치) 처리 속도, 데이터 용량, 전력 소모량 등이 결정되기 때문에 롤러블폰 성능 경쟁력과 직결된 탓이다.
한국표준과학연구원 소재융합측정연구소는 구부리거나 종이처럼 접어도 손상을 입지 않은 채 성능은 유지할 수 있는 트랜지스터 개발을 위해 수평이 아닌 '수직'으로 쌓는 기술을 고안했다.
연구팀에 따르면 트랜지스터를 수직으로 쌓으면 구부리거나 휘는 등의 설계에 있어 디자인 자유도가 높아지고, 초소형 크기로 제작 가능하다. 또 기존 수평 방식의 유기 트랜지스터보다 최대 구동 속도가 100배 빨라지고, 구동에 필요한 전압을 3분의 1까지 낮춰 정보처리 성능이 그만큼 향상된다. 임경근 표준연 선임연구원은 “이번 기술은 궁극적으로 형태가 자유롭게 변하는 디스플레이, 센서, 반도체 소자와 같은 차세대 스마트기기에 적용돼 개발 시기를 앞당길 것”이라고 말했다.
류준영 기자

LG전자의 하반기 전략폰 ‘LG 윙’에대해 해외 매체들도 대체로 긍정적 반응을 보인다. 전에 없던 새로운 폼팩터로 기발하며 유용할 것이라는 평가가 많은데, 일부 매체는 실제 사용성에 의문을 표하기도 했다.
미국 정보기술(IT) 매체 폰아레나는 “LG윙의 핵심은 2개의 디스플레이를 갖춘 독창적인 폼팩터로 매우 인상적인 회전설계 방식과 견고한 하드웨어가 획기적”이라고 평가했다. 이 매체는 “이런 컨셉은 운전시 메인화면에서는 지도를 따라가면서 보조화면에서는 전화를 받는 식의 매우 유용한 시나리오가 가능해진다” 며 “독창적인 폼 팩터에도 불구하고 LG 윙이 915달러(루머이지만) 정도로 낮은 미드레인지 폰으로 알려졌다”면서 긍정적인 평가를 내렸다.
테크 레이다는 “이 휴대폰을 여행 스트리머들을 겨냥하고 낸 것 같다”고 평가했다. 나인투파이브구글은 “스마트폰 디자인이 절정에 달하면서 새로운 폼팩터들이 기존의 틀을 깨고 있다”면서 “삼성, 모토로라 등이 폴더블폰을 개발하는 동안 LG는 완전히 다른 길을 가고 있다”고 밝혔다.
엔가젯은 “LG 윙은 일반적인 스마트폰 경험을 제공하는 동시에 정말 필요할 때 유연하게 사용할 수 있는 실용성이 높은 폰”이라고 평가했다. GSM아레나도 “LG전자가 LG 윙으로 스마트폰 역사에 새 페이지를 열었다”며 “2000년대 초반에 여러 피처폰에서 회전이 가능했지만 LG전자는 (스마트폰에서도 보조 화면의 기능과 쓰임새를 다시 보여주고 있다”고 호평했다.

반면 씨넷은 “예상했던 것 만큼 이상하지만 쓸모없진 않다”면서도 “제품이 두껍고 보조화면에 적응하기 위해 사용자들이 많은 것을 학습해야한다”고 지적했다. 이어 “제품 회전 매커니즘은 견고해 보이나 사용자가 그런 제품을 원하는지는 확실하지 않다”고 의문을 표했다.
더버지도 “(유튜브와 같은) 비디오 앱들을 사용할 때 볼륨 제어 등에 보조 화면을 사용할 수 있다”면서도 “LG 윙 스위블 모드 앱의 확장성이 제품 성공을 판가름할 것”이라고 내다봤다.
조성훈 기자